长辈版
无障碍
简体
繁体
加入收藏
热搜词:
智能问答
网站首页
领导之窗
政务资讯
政府信息公开
办事服务
互动交流
解读回应
走进叶集
分享
您当前的位置:
首页
> 叶集区孙岗乡
>
行政权力
>
权责清单
索
引
号:
/202312-00252
组配分类:
权责清单
发布机构:
叶集区孙岗乡
主题分类:
其他,其他
成文日期:
暂无
发文日期:
2025-01-13 15:25
文 号:
关
键
词:
名 称:
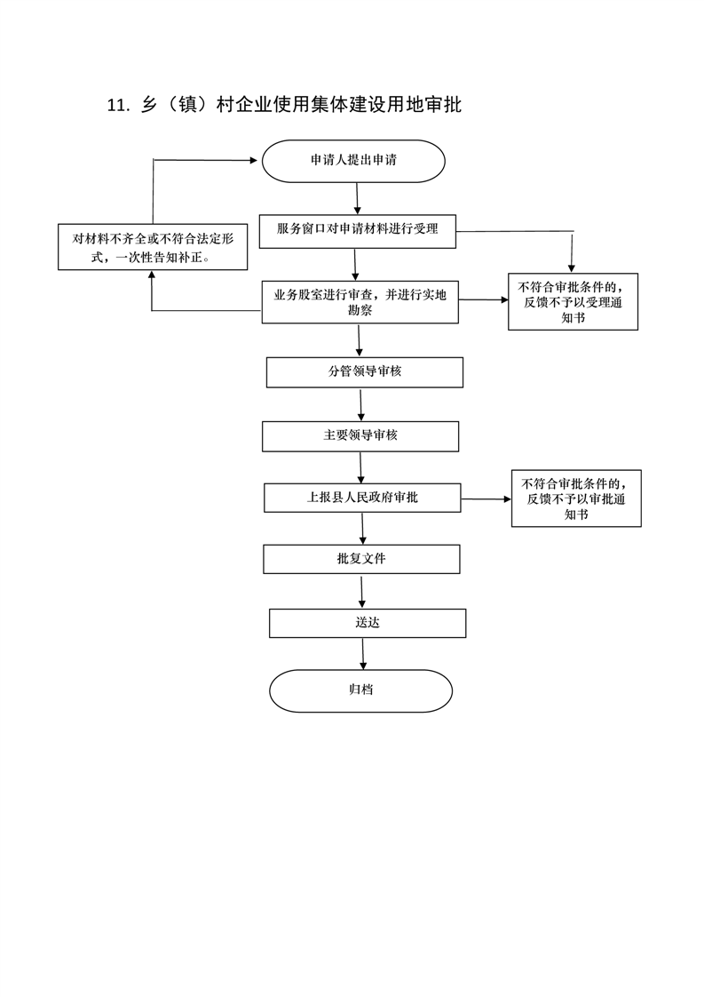
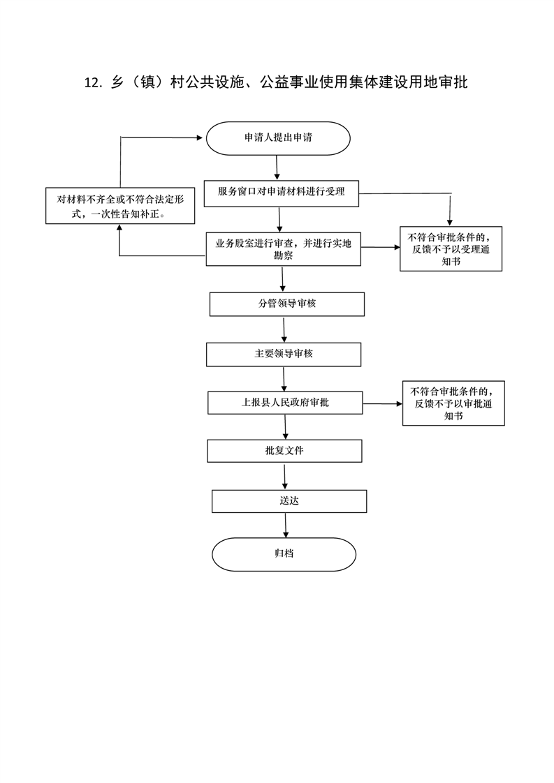
叶集区孙岗乡审批事项流程图
叶集区孙岗乡审批事项流程图
2025-01-13 15:25
浏览量:
信息来源:叶集区孙岗乡
我要纠错
文字大小:[
大
中
小
]
背景色:
文件下载
政策咨询
如果您对该政策文件有疑问,可以拨打标题上方的电话咨询相关部门。
标签:
打印本页
关闭窗口